Acoustics Vent Membrane
Membrane Properties:
|
PHYSICAL PROPERTIES |
REFERED TEST STANDARD |
UNIT
|
TYPICAL DATA |
|
Membrane Color |
/ |
/ |
Grey |
|
Membrane Construction |
/ |
/ |
ePTFE |
|
Membrane Surface Property |
/ |
/ |
Hydrophobic |
|
Thickness |
ISO 534 |
mm |
0.01±0.005 |
|
Air Permeability |
ASTM D737 (测试面积:1 cm²) |
ml/min/cm2@7KPa |
>5000 |
|
Water Entry Pressure |
ASTM D751 (测试面积:1 cm²) |
KPa for 30 sec |
>50 KPa
|
|
Transmission Loss (@1kHz, I.D.= 2.0mm) |
Internal Control
|
dB |
< 1 dB |
|
IP Rating (Test I.D.= 2.0mm) |
IEC 60529 |
/ |
IP67/IP68 |
|
ISO Rating (Test I.D.= 2.0mm) |
ISO 22810 |
/ |
NA
|
|
Operation Temperature |
IEC 60068-2-14 |
℃ |
-40℃~260℃ |
|
ROHS |
IEC 62321 |
/ |
Meet ROHS Requirements |
|
PFOA & PFOS |
US EPA 3550C & US EPA 8321B |
/ |
PFOA & PFOS Free |



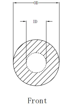
Product Structure
|
|
|
Product Model & Dimension
|
产品型号 |
外径(OD) |
内径(ID) |
透气量ml/min@7Kpa |
声损@1KHz |
|
100G20-A2040 |
4.0 |
2.0 |
>157 |
≤1dB |
|
100G20-A2450 |
5.0 |
2.4 |
>226 |
≤1dB |
|
100G20-A3347 |
4.7 |
3.3 |
>427 |
≤1dB |
|
100G20-A3060 |
6.0 |
3.0 |
>353 |
≤1dB |
|
100G20-A3376 |
7.6 |
3.3 |
>427 |
≤1dB |
|
100G20-A4080 |
8.0 |
4.0 |
>628 |
≤1dB |
|
100G20-A5094 |
9.4 |
5.0 |
>981 |
≤1dB |
(Note: Dimensions can be cusomized. )
Transmission Loss Curve:
Transmission Loss of AYN-100G20-A acoustics membrane < 1dB @ 1KHz, and < 2.5 dB in the whole frequency range. AYN-100G20-A
NOTE:
(2)The results are tested using a typical digital output MEMS microphone system and self-designed test device in ZZPIP laboratory with representative sample size. The design of the device will affect final performance.
Application:
The membrane could provide the device with immersed waterproof protection and minimal sound transmission loss, keeping the device with the excellent acoustics transmission performance.
Shelf Life:
Note:
All technical information and advice given here is based on Zzpip’s previous experiences and test results. Zzpip gives this information to the best of its knowledge, but assumes no legal responsibility. Customers are asked to check the suitability and usability in the specific application, since the performance of the product can only be judged when all necessary operating data are available.









